|
Precision Hole Finishing - ROTAFLEX™
Bridge Tool Consoles • Large
|
|
|
|
 |

|

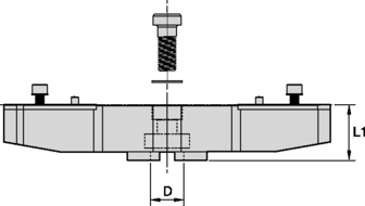
L1 ASSY = L1 BRIDGE + L1 SLIDE + L1 CARTRIDGE
L1 ASSY = L1 BRIDGE + L1 INSERT HOLDER
|
 
|
 |

|
  |
  |
- For use with shell mill adapters, please order separately.
- Bridge body shipped without ISO cartridges, slides, or micro adjustable cartridges.
- Order ISO cartridges separately for rough boring.
- Order micro adjustable cartridges separately for fine boring.
|
|
BR1 bore range |
D |
L1 |
| order number |
catalog number |
mm |
in |
mm |
in |
mm |
in |
kg |
lbs. |
| 2005574 |
12600020000 |
200,000-280,000 |
7.8740-11.0236 |
40,0 |
1.575 |
50,6 |
1.992 |
4,4 |
2.00 |
| 2005602 |
12600027800 |
278,000-360,000 |
10.9449-14.1732 |
40,0 |
1.575 |
50,6 |
1.992 |
6,2 |
2.80 |
| 2005656 |
12600035800 |
358,000-440,000 |
14.0945-17.3228 |
40,0 |
1.575 |
61,6 |
2.425 |
5,5 |
2.50 |
| 2005722 |
12600043800 |
438,000-520,000 |
17.2441-20.4724 |
40,0 |
1.575 |
61,6 |
2.425 |
7,7 |
3.50 |
Spare Parts
| catalog number |
fixing
screw |
fixing
screw |
disc
washer |
disc
washer |
screw
driver |
screw
driver |
| RFX185FBH022029 |
12147739900 |
12147604500 |
12147600300 |
12147740100 |
12147666700 |
12147615400 |
| RFX245FBH029038 |
12147739900 |
12147604500 |
12147600300 |
12147740100 |
12147666700 |
12147615400 |
| RFX320FBH038050 |
12147739900 |
12147604500 |
12147600300 |
12147740100 |
12147666700 |
12147615400 |
| RFX420FBH050065 |
12147739900 |
12147604500 |
12147600300 |
12147740100 |
12147666700 |
12147615400 |
Slide for ISO Cartridges
| order number |
catalog number |
L1 mm |
L1 in |
fixing
screw |
screw
driver |
adjustment
screw |
screw
driver |
| 2005576 |
12614020100 |
19,4 |
.764 |
12147625200 |
12148041300 |
12147739800 |
12148041200 |
Slide for Micro Adjustable Cartridges
| order number |
catalog number |
L1 mm |
L1 in |
fixing
screw |
screw
driver |
adjustment
screw |
screw
driver |
| 3860905 |
SMAC200 |
13,9 |
.547 |
12147519100 |
12148079000 |
12147665000 |
12148041100 |
|
|